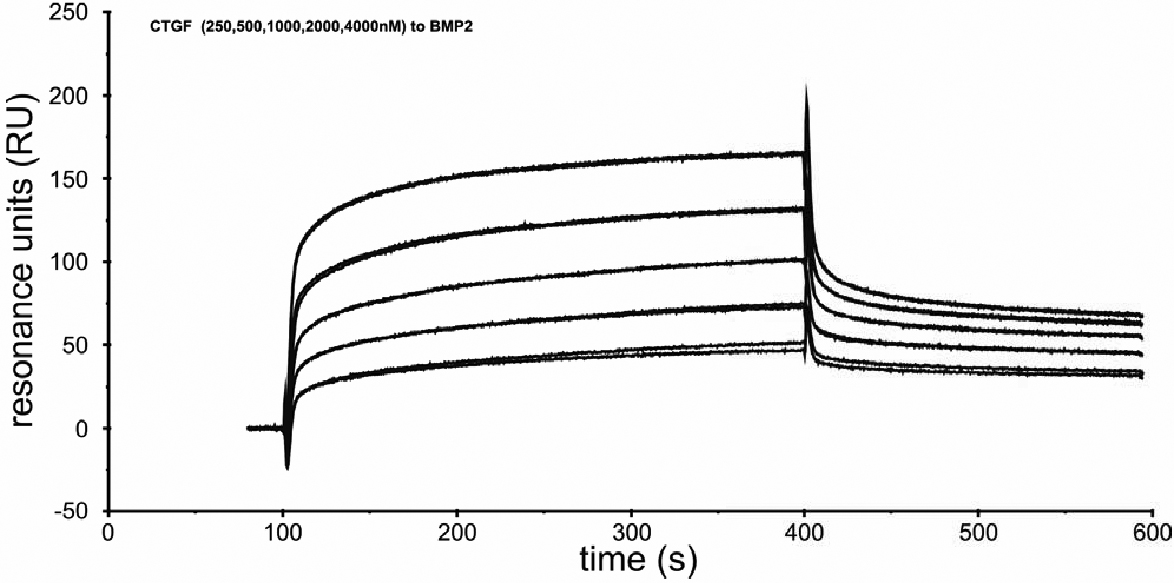
Figure 2. Sensorgrams of BIAcore measurements. Binding of CTGF at the indicated concentrations to immobilized BMP-2 was recorded at
a flow-rate of 10 μl/min at 25 °C. The association phase was set to five and the dissociation phase to three min. Specific
binding of hCTGF to immobilized BMP-2 reveals an apparent KD value of ~400 nM.
